|
दबाव/MPa |
तापमान / °C |
गती /m/s |
मध्यम |
|
≤40 |
-35~+100 (NBR O-रिंगसह) |
≤2 |
हायड्रोलिक तेल, इमल्शन, पाणी, वायू इ. |
|
-20~+200 (FKM O-रिंगसह) |
1. उपलब्ध ओ-रिंग साहित्य: R01 Nitrile Butadiene रबर (NBR), R02 Fluororubber (FKM), इ.
2. सीलिंग रिंग साहित्य: मानक साहित्य PTFE3 आणि PTFE4; इतर पर्यायी सामग्रीमध्ये PTFE1, PTFE2 आणि PTFE5 यांचा समावेश आहे.
ऑर्डरिंगचे उदाहरण
ऑर्डरिंग मॉडेल RC2052—80x91×4.2—PTFE3—R01 मॉडेल-dxDxL- मटेरियल कोड
ऑर्डरिंग मॉडेल RCX17—80x91×4.2—HPU मॉडेल-dxDxL- मटेरियल कोड
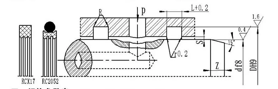
स्पेसिफिकेशन्स आणि पॅरामीटर्स टेबल (पॅरामीटर रेंजमधील कोणतेही स्पेसिफिकेशन उपलब्ध आहे)
|
शाफ्ट व्यास श्रेणी d f8 |
खंदक व्यास DH9 |
खंदक रुंदी L+⁰.2 |
रेडियल क्लीयरन्स Smax |
गोलाकार कोपरे Rmax |
चांफर झमिन |
|
|
0~10Mpa |
10~20Mpa |
|||||
|
६~१८ |
d+49 |
2.2 |
0.15 |
0.1 |
0.4 |
2 |
|
१९~३७ |
d+7.5 |
3.2 |
0.2 |
0.15 |
0.6 |
3 |
|
३८~१९९ |
d+11.0 |
4.2 |
0.25 |
0.2 |
1.0 |
4 |
|
200~255 |
d+15.5 |
6.3 |
0.3 |
0.25 |
1.3 |
5 |
|
२५६~६४९ |
d+21.0 |
8.1 |
0.3 |
0.25 |
1.8 |
7 |
|
६५०~१५०० |
d+28.0 |
9.5 |
0.45 |
0.3 |
2.0 |
8 |
टीप: शाफ्ट व्यास ≤ 30 मिमी साठी, खुल्या खोबणीची शिफारस केली जाते.
|
d |
D |
L |
d |
D |
L |
d |
D |
L |
d |
D |
L |
|
8 |
12.9 |
2.2 |
48 |
59.0 |
4.2 |
150 |
161.0 |
4.2 |
350 |
371.0 |
8.1 |
|
10 |
14.9 |
2.2 |
50 |
61.0 |
4.2 |
160 |
171.0 |
4.2 |
360 |
381.0 |
8.1 |
|
12 |
16.9 |
2.2 |
55 |
66.0 |
4.2 |
170 |
181.0 |
4.2 |
370 |
391.0 |
8.1 |
|
14 |
18.9 |
2.2 |
60 |
71.0 |
4.2 |
180 |
191.0 |
4.2 |
380 |
401.0 |
8.1 |
|
15 |
19.9 |
2.2 |
63 |
74.0 |
4.2 |
190 |
201.0 |
4.2 |
390 |
411.0 |
8.1 |
|
16 |
20.9 |
2.2 |
65 |
76.0 |
4.2 |
200 |
215.5 |
6.3 |
400 |
421.0 |
8.1 |
|
18 |
22.9 |
2.2 |
70 |
81.0 |
4.2 |
210 |
225.5 |
6.3 |
420 |
441.0 |
8.1 |
|
20 |
27.5 |
3.2 |
75 |
86.0 |
4.2 |
220 |
235.5 |
6.3 |
450 |
471.0 |
8.1 |
|
22 |
29.5 |
3.2 |
80 |
91.0 |
4.2 |
230 |
245.5 |
6.3 |
480 |
501.0 |
8.1 |
|
24 |
31.5 |
3.2 |
85 |
96.0 |
4.2 |
240 |
255.5 |
6.3 |
500 |
521.0 |
8.1 |
|
25 |
32.5 |
3.2 |
90 |
101.0 |
4.2 |
250 |
265.5 |
6.3 |
520 |
541.0 |
8.1 |
|
28 |
35.5 |
3.2 |
95 |
106.0 |
4.2 |
260 |
281.0 |
8.1 |
550 |
571.0 |
8.1 |
|
30 |
37.5 |
3.2 |
100 |
111.0 |
4.2 |
270 |
291.0 |
8.1 |
600 |
621.0 |
8.1 |
|
32 |
39.5 |
3.2 |
105 |
116.0 |
4.2 |
280 |
301.0 |
8.1 |
630 |
651.0 |
8.1 |
|
35 |
42.5 |
3.2 |
110 |
121.0 |
4.2 |
290 |
311.0 |
8.1 |
650 |
678.0 |
8.1 |
|
36 |
43.5 |
3.2 |
115 |
126.0 |
4.2 |
300 |
321.0 |
8.1 |
670 |
698.0 |
9.5 |
|
38 |
49.0 |
4.2 |
120 |
131.0 |
4.2 |
310 |
331.0 |
8.1 |
700 |
728.0 |
9.5 |
|
40 |
51.0 |
4.2 |
125 |
136.0 |
4.2 |
320 |
341.0 |
8.1 |
750 |
778.0 |
9.5 |
|
42 |
53.0 |
4.2 |
130 |
141.0 |
4.2 |
330 |
351.0 |
8.1 |
800 |
828.0 |
9.5 |
|
45 |
56.0 |
4.2 |
140 |
151.0 |
4.2 |
340 |
361.0 |
8.1 |
1000 |
1028.0 |
9.5 |
टीप: आवश्यक तपशील येथे सूचीबद्ध नाहीत; कृपया आमच्या कंपनीशी संपर्क साधा. आम्ही जास्तीत जास्त 2800 मिमी व्यासासह उत्पादने ऑफर करतो.





अष्टपैलू स्थापना आणि वापर सूचना
रुई चेनला माहित आहे की सीलची पूर्ण कार्यक्षमता सुनिश्चित करण्यासाठी योग्य स्थापना ही पहिली पूर्व शर्त आहे, आम्ही तुम्हाला प्रत्येक उत्पादनाच्या वापराबाबत सर्वसमावेशक मार्गदर्शन देखील देऊ, विशेषत: जटिल किंवा गैर-मानक सानुकूल भाग, तपशीलवार ग्राफिक स्थापना मार्गदर्शक असेल.
हे मार्गदर्शक उच्च-परिभाषा चरण-दर-चरण आकृती आणि मजकूर सूचनांसह आहेत जे स्थापनेपूर्वी तपासणीचे बिंदू स्पष्टपणे दर्शवतात, योग्य इंस्टॉलेशन पायऱ्या, आवश्यक साधने आणि टाळणे आवश्यक असलेल्या चुकीच्या ऑपरेशन्स, जसे आमचे अभियंते साइटवर आहेत. याव्यतिरिक्त, जटिल असेंब्ली किंवा सिस्टमसाठी, आम्ही व्यावसायिक व्हिडिओ ट्यूटोरियल तयार करतो जे तुमच्या ऑपरेटरना डायनॅमिक प्रात्यक्षिकांमधून इंस्टॉलेशन तंत्र आणि सावधगिरींमध्ये अंतर्ज्ञानाने आणि द्रुतपणे प्रभुत्व मिळवू देतात, अयोग्य इंस्टॉलेशनमुळे लवकर अयशस्वी होण्याचा धोका मोठ्या प्रमाणात कमी करतात.
पत्ता
क्रमांक 1 रुईचेन रोड, डोंगलीउटिंग इंडस्ट्रियल पार्क, चेंगयांग जिल्हा, किंगदाओ शहर, शेंडोंग प्रांत, चीन
दूरध्वनी