Qingdao Ruichen Sealing Technology Co., Ltd.
Qingdao Ruichen Sealing Technology Co., Ltd.
उत्पादने
X

TC तेल सील

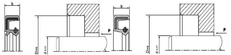
रोटरी शाफ्ट लिप सील, सामान्यतः ऑइल सील म्हणून ओळखले जातात, बेअरिंग हाऊसिंगमध्ये स्थापित केले जातात आणि फिरत्या शाफ्टच्या सापेक्ष हलतात. धातूचा सांगाडा आधार प्रदान करतो आणि स्प्रिंग सीलिंग ओठांवर रेडियल प्रीलोड लागू करतो ज्यामुळे वंगण गळती आणि बाह्य दूषित पदार्थांचा प्रवेश रोखता येतो.

स्थापना संरचना आणि आवश्यकता

1. शाफ्ट मटेरिअल: सामान्यतः कार्बन स्टील आणि स्टेनलेस स्टील वापरले जाते. उच्च गतीसाठी, क्रोम प्लेटिंग पृष्ठभागावर लागू केले जाते, HRC40-45.

2. फिरवत शाफ्ट आणि ग्रूव्ह्सची रचना: शाफ्टची पृष्ठभाग गुळगुळीत आणि बुरशी मुक्त असावी. सर्पिल मशीनिंग मार्क्स पंपिंग इफेक्ट तयार करू शकतात, ज्यामुळे गळती होते. हे शिफारसीय आहे की तेल सील माउंटिंग क्षेत्र Ra0.1-0.5µm च्या पृष्ठभागाच्या खडबडीत जमिनीवर ठेवावे, वाढत्या गतीसह नितळ होईल. इंस्टॉलेशन आणि वेगळे करणे सुलभतेसाठी, शाफ्ट आणि खोबणी चेम्फर किंवा गोलाकार कडांनी डिझाइन केलेली असणे आवश्यक आहे आकृती 1 आणि 2 पहा.

सीलिंग उंची

b

b1(0.85xb)

मिमी

b2(b+0.3)

मिमी

r

कमाल

7

5.95

7.3

0.5

8

6.80

8.3

0.5

10

8.50

10.3

0.5

12

10.30

12.3

0.7

15

12.75

15.3

0.7

20

17.00

20.3

0.7

आकृती 1. ग्रूव्ह चेम्फर डिझाइन


d

d3

R

<10

d-1.5

2

१०~२०

d-2.0

2

२०~३०

d-2.5

3

३०~४०

d-3.0

3

४०~५०

d-3.5

4

५०~७०

d-4.0

4

७०~९५

d-4.5

5

९५~१३०

d-5.5

6

130~240

d-7.0

8

२४०~५००

d-11.0

12

५००~८००

d-14.0

14

८००~१२५०

d-18.0

16

आकृती 2 फिरणाऱ्या शाफ्टचे चेम्फर डिझाइन


रोटरी शाफ्ट लिप सीलच्या कार्यक्षमतेवर परिणाम करणारे घटक 

सीलिंग प्रभावावर परिणाम करणारे डझनभर घटक आहेत. तेल सील स्वतः व्यतिरिक्त, जसे की त्याची सामग्री आणि रचना, इतर घटक जसे की मध्यम, तापमान, दाब, स्नेहन, गती आणि पृष्ठभागाचा खडबडीतपणा देखील सीलिंग प्रभावावर थेट परिणाम करतात आणि हे घटक सहसा एकमेकांशी संवाद साधतात. खालील तक्ते केवळ वापरकर्ता संदर्भासाठी आहेत.

आकृती 3. तेल सीलवर तापमानाचा प्रभाव


स्थापना: तेल सीलच्या योग्य कार्यासाठी काळजीपूर्वक स्थापना ही एक पूर्व शर्त आहे.

स्थापना आकृती (पोकळी स्थापना)

योग्य स्थापना पद्धत

लागू कामाची परिस्थिती

चुकीची स्थापना पद्धत

ही पद्धत फक्त तेव्हाच लागू होते जेव्हा ऑइल सील एंड फेस आणि कॅव्हिटी एंड फेस फ्लश होतो. जेव्हा दाबण्याचे उपकरण वेगाने चालते, तेव्हा तेल सील योग्यरित्या स्थित असणे आवश्यक आहे; अन्यथा, चुकीचे संरेखन होऊ शकते.

 

हे डिझाइन अशा परिस्थितींसाठी योग्य आहे जेथे तेल सीलचा शेवटचा चेहरा पोकळीच्या शेवटच्या चेहऱ्यापेक्षा कमी असतो. जलद दाबूनही, ऑइल सील अजूनही व्यवस्थित ठेवता येते. तथापि, या प्रकारच्या फिक्स्चरमध्ये रेडियल पोझिशनिंग नसते, म्हणून दाबणाऱ्या उपकरणाच्या फ्लॅट प्लेट आणि प्रेशर शाफ्टची अक्षीय लंब एक विशिष्ट अचूकता प्राप्त करणे आवश्यक आहे.

ही पद्धत अशा परिस्थितींसाठी योग्य आहे जिथे तेल सीलचा शेवटचा चेहरा पोकळीच्या शेवटच्या चेहऱ्यापेक्षा कमी असतो. उपकरणे त्वरीत दाबताना, तेल सील योग्यरित्या स्थित असल्याचे सुनिश्चित करणे महत्वाचे आहे; अन्यथा, चुकीचे संरेखन होऊ शकते.


 

 


ही पद्धत केवळ देखभाल किंवा साध्या स्थापनेसाठी योग्य आहे जेथे दाब उपकरणे अनुपलब्ध आहेत. स्थापनेदरम्यान पूर्णपणे एकसमान दाबणे शक्य नसल्यामुळे, विविध स्थापना समस्या अपरिहार्य आहेत. हे प्रामुख्याने स्थापनेदरम्यान रेडियल चुकीचे संरेखन टाळण्यासाठी डिझाइन केलेले आहे, ज्यामुळे तेल सील विकृत होऊ शकते किंवा स्थापनेदरम्यान विरामांमुळे ऑइल सील मिलन भाग (बाह्य वर्तुळ) च्या रबरला होणारे नुकसान टाळण्यासाठी. म्हणून, ही स्थापना पद्धत सहसा शिफारस केलेली नाही.

 

TC/SC/TB/SB तेल सील

दोन्हीमध्ये मेटल फ्रेम, स्प्रिंग आणि रबर बॉडी असते. मेटल फ्रेम समर्थन प्रदान करते आणि स्प्रिंग सीलिंग ओठांवर रेडियल फोर्स लागू करते. TC आणि TB दोन्ही मॉडेल्समध्ये डस्टप्रूफ ऑक्झिलरी ओठ असतात, ज्याच्या एका बाजूला सीलिंग माध्यम असते आणि दुसऱ्या बाजूला धूळ असते. टीबी/एसबी मॉडेल्समध्ये धातूचे बाह्य वर्तुळ असते, ज्यामुळे पोकळीमध्ये तेल सील अधिक सुरक्षित आणि अचूक बनते. तथापि, बाह्य वर्तुळाची सीलिंग क्षमता कमी-स्निग्धता आणि वायू माध्यमांसाठी मर्यादित आहे; म्हणून, स्थापना आणि वापरादरम्यान बाह्य वर्तुळावर सीलंट लागू करण्याची शिफारस केली जाते.

क्रॉस-विभागीय आकार

मॉडेल

अर्ज

दाब

तापमान

गती

मध्यम

साहित्य

टीसी

सीलिंग, डस्टप्रूफ

0.03MPa

-३०~+१६०

२० मी/से

वंगण तेल आणि वंगण

NBR/FKM + कार्बन स्टील

अनुसूचित जाती

सील करणे

टीबी

सीलिंग, डस्टप्रूफ

-३०~+१००

२५ मी/से

पाणी, वंगण तेल, वंगण

NBR + कार्बन स्टील

एस.बी

सील करणे

ऑर्डर मॉडेल TC-d*D*b

तपशील

तपशील

तपशील

तपशील

तपशील

तपशील

तपशील

TC-6*17*3.5

TC-9*25*7

TC-10*30*7

TC-12*25*10

TC-13*25*7

TC-14*32*8

TC-15*30*7

TC-7*18*7

TC-10*18*7

TC-11*22*7

TC-12*26*7

TC-13*26*7

TC-14*32*10

TC-15*30*8

TC-8*18*7

TC-10*19*7

TC-I1*25*7

TC-12*28*7

TC-13*28*7

TC-14*35*7

TC-15*30*10

TC-8*20*7

TC-10*20*5

TC-11*30*10

TC-12*28*8

TC-13*30*8

TC-14*35*8

TC-15*32*7

TC-8*22*7

TC-10*20*7

TC-12*19*3

TC-12*30*7

TC-14*24*7

TC-14*40*7

TC-15*32*10

TC-8*22*8

TC-10*22*5

TC-12*20*7

TC-12*30*10

TC-14*25*7

TC-15*22*8

TC-15*35*7

TC-8*25*7

TC-10*22*7

TC-12*21*7

TC-12*32*7

TC-14*26*7

TC-15*24*7

TC-15*35*8

TC-8*25*8

TC-10*22*8

TC-12*22*5

TC-12*32*10

TC-14*27*7

TC-15*25*5

TC-15*35*10

TC-8*30*7

TC-10*22*10

TC-12*22.5*5.5

TC-12*35*7

TC-14*28*7

TC-15*25*7

TC-15*38*7

TC-9*16*5

TC-10*24*7

TC-12*22*7

TC-12*35*10

TC-14*28*8

TC-15*25*8

TC-15*38*8

TC-9*18*7

TC-10*25*5

TC-12*22*8

TC-12.7*22.22*5

TC-14*28*10

TC-15*26*7

TC-15*38*10

TC-9*19*7

TC-10*25*7

TC-12*24*6

TC-12.7*25.4*7

TC-14*29*7

TC-15*27*7

TC-15*40*8

TC-9*20*7

TC-10*25*10

TC-12*24*7

TC-12.7*26*8

TC-14*30*7

TC-15*27*8

TC-15*40*10

TC-9*22*7

TC-10*26*7

TC-12*25*7

TC-12.7*30*8

TC-14*30*10

TC-15*28*7

TC-15*42*7

TC-9*24*7

TC-10*28*7

TC-12*25*8

TC-13*23*7

TC-14*32*7

TC-15*28*10

TC-15*42*8

 




हॉट टॅग्ज: TC तेल सील
चौकशी पाठवा
संपर्क माहिती
  • पत्ता

    क्रमांक 1 रुईचेन रोड, डोंगलीउटिंग इंडस्ट्रियल पार्क, चेंगयांग जिल्हा, किंगदाओ शहर, शेंडोंग प्रांत, चीन

  • दूरध्वनी

    +86-532-82809839

स्पर्धात्मक किंमती, तांत्रिक समर्थन आणि वेगवान प्रतिसाद मिळवा. तयार केलेल्या सीलिंग सोल्यूशन्ससाठी आपली वैशिष्ट्ये रुईचेनला पाठवा. विनामूल्य नमुने उपलब्ध.
बातम्या शिफारशी
X
आम्ही तुम्हाला एक चांगला ब्राउझिंग अनुभव देण्यासाठी, साइट रहदारीचे विश्लेषण करण्यासाठी आणि सामग्री वैयक्तिकृत करण्यासाठी कुकीज वापरतो. ही साइट वापरून, तुम्ही आमच्या कुकीजच्या वापरास सहमती देता. गोपनीयता धोरण
नकार द्या स्वीकारा